武汉钢铁公司为了增加钢铁产量,提高工作效率,2006年底对转炉远程数据传送设备进行了改造。
系统介绍:
转炉远程数据传送系统要把分布在各个车间的转炉信号集中起来送给中控室。武钢共有15个转炉,分布距离总长为4200米。要求把各个转炉当前炼铁的工艺发送到中控室,中控室根据每个转炉发来的数据对各个转炉的炼钢成分进行分析,同时根据需要还向各个转炉发送下批需要炼铁的工艺,操作工根据传输过来的数据进行工作。因而中控室与各转炉之间的数据交换尤为重要,整个网络要求高可靠性和实时性。
武钢转炉原采用RS485通讯,但存在很多弊病,例如通讯距离很有限,通讯速率较低,信号不稳定等。
科威嵌入式PLC芯片组带有CANBUS通讯功能,基于该芯片组,根据武钢转炉改造需求,外围加上相应的数码显示单元和指令控制按键,就开发出了式样号发生器。该产品通讯速率5—500K可以自由设定,通讯距离最远可达10公里,可靠性高,且具有可编程性,灵活性好,取代原有的通讯设备后,彻底解决了原有问题。
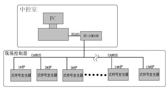
转炉远程数据传送系统结构如图1所示,该系统包括一台PC机,一台科威带CAN通讯的32点的PLC,以及放置于现场的15台式样号发生器。

这几个层主要的工作包括:
1、最底层为现场控制层,操作工将当前转炉炼钢的工艺用数字表示的方式,传送给中控室。同时操作工根据中控室发过来的指令进行下步作业。数据全部通过CANBUS进行传输。
2、最上层为中控操作室,中控室有一台带CAN通讯的PLC,这台PLC作为CAN主站与现场的15个式样号发生器进行数据交换。根据此现场要求,CAN通讯设置如下:通讯速率为20K,0级任务为100ms,带扩展效验。 由于需交换的数据量较大,为了保证通讯效果,PC与PLC之间采用了RS485通讯。
现场使用效果:
现场测试的数据显示:单个从站发送数据,在1秒钟内中控室可以收到并反送指令给此从站。10个以上从站同时发送数据给中控室,在3秒之内可以完成跟所有从站的数据交换。此设备在武钢现场已经使用1年多,运行状况良好。
(转载)



