
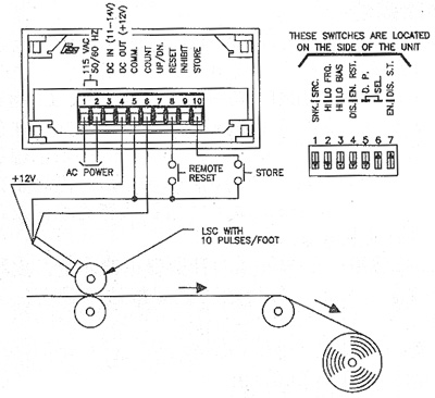
在造纸行业中,会应用如图所示的长度测量系统以测量和显示已卷到纸卷上的总长度。
在此应用中,选用了LSC长度传感器,纸卷上的纸每增加一英尺长度传感器向APOLLO累加器发送10个脉冲。
将APOLLO累加器的小数点显示位置设在十位处时,累加器个位显示数字的单位恰好为1/10英尺。在这一应用中,该累加器的前屏复位按扭被锁定,而在远程复位(Remote Reset)端子与公共(Comm)端之间连接一开关,计数器的复位只能通过该开关实现。
计数器存储(Store)端子和公共(Comm)端子之间也联有一按键开关。通过此开关,操作者可冻结APOLLO显示的计数值,在冻结显示的过程中,计数器内部的计数工作仍正常进行,不会丢掉任何计数值。
需要注意的是:由于APOLLO累加计数器内装有非易失性存储器,所以上述系统可随时关闭。APOLLO累加计数器的内部存储器将记忆停机时纸卷上纸的总长度。
(转载)



