矿井提升机广泛用于煤炭、有色金属、黑色金属、非金属、化工等矿山的竖井、斜井的提升系统用作提升矿物和物料及设备等,是矿井系统设备的咽喉,在整个生产过程中,占有非常重要的地位,矿用生产是连续作业的,即使短时间的停机维修也会给生产带来很大损失。因此,设备的安全可靠运行就显的特别重要。目前的电控系统存在着很多的不足,矿用提升机的技术改造要求迫在眉睫。我们德力西(杭州)变频器有限公司在研制提升机变频器方面作了相当大的努力。通过不断的进行技术革新,成功地开发了德力西矿山提升机专用变频器。并得到了很好的应用
目前矿用提升机控制系统普遍采用绕线电机转子串电阻的方式进行调速,该系统存在以下缺点:
(1) 大量的电能消耗在转差电阻上,造成了严重的能源浪费,同时电阻器的安装需要占用很大的空间。
(2) 控制系统复杂,导致系统的故障率高,接触器、电阻器、绕线电机碳刷容易损坏,维护工作量很大,直接影响了生产效率。
(3) 低速和爬行阶段需要依靠制动闸皮摩擦滚筒实现速度控制,特别是在负载发生变化时,很难实现恒减速控制,导致调速不连续、速度控制性能较差。
(4) 启动和换档冲击电流大,造成了很大的机械冲击,导致电机的使用寿命大大降低,而且极容易出现“掉道”现象。
(5) 自动化程度不高,增加了开采成本,影响了产量。
(6) 低电压和低速段的启动力矩小,带负载能力差,无法实现恒转矩提升。
提升机应用变频调速技术,较原控制系统优越性体现在以下几个方面:
(1)实现了软启动、软停车,减少了机械冲击,使运行更加平稳可靠。
(2)调速连续方便,可分段予置,连续调节。
(3)起动及加速换挡时冲击电流很小,减轻了对电网的冲击,简化了操作、降低了工人的劳动强度。
(4)运行速度曲线成S形,使加减速平滑、无撞击感。
(5)安全保护功能齐全,除一般的过压、欠压、过载、短路、温升等保护外,还设有连锁保护、自动限速保护功能等。
(6)甩掉了原系统加速用的转子串电阻、交流接触器及时间继电器等,提高了系统的可靠性,操作人员的工作环境也大为改善。
(7)设有直流制动、能耗制动、等多种制动方式,使安全性更加可靠。
一、现场状况
山东伏山煤矿提升机改造通过调研与论证,结合该矿井提升机的现场实际状况,决定对提升机实施变频调速改造。
该煤矿斜井提升机是单卷筒提升机,选用为185kW绕线式6极电机,卷筒直径 1200mm,减速器减速比24:1,最高运行速度2.5m/s,钢丝绳长度为450m。采用串电阻分五段速降压起动和调速,频繁正、反向运转,电能浪费极大。原系统电机是185KW的6极绕线式电机,在平时工作电流在280-380A,为保证安全,提升机上行或下行起动时,是要加制动的,起动完成后一瞬间再松开制动。在这种情况下运行电流有时候会超过电机额定电流,达到400多安培。变频调速后,提升机上行或下行起动时,仍是要加制动的,变频器输出频率到2Hz有足够大的力矩时再松开制动。尽管2Hz以下电机处于堵转状态,但由于输出频率低,输出电压也低,电机不会过流。在生产中,装载的物料有时可能会超载,考虑重载加速时间短,选型时变频器容量需要加大,我们选用的变频器为德力西CDI9000-G280kW,这样有利于电机在过载时候变频器有足够的过载能力,制动单元为德力西CDI-BR400型适用变频器160KW-315KW。制动电阻功率为54KW,当高于 700V 左右时启动刹车单元,让多余的能量在通过能耗电阻消耗掉,从而保证了主器件的安全。
二、方案实施
斜井提升负载是典型的摩檫性负载,即恒转矩特性负载。重车上行时,电机的电磁转矩必须克服负载阻转矩,起动时还要克服一定的静摩檫力矩,电机处于电动工作状态。在重车减速时,虽然重车在斜井面上有一向下的分力,但重车的减速时间较短,电机仍会处于再生状态。当另一列重车上行时,电机处于反向电动状态。另外有占总运行时间10%的时候单独运送工具或器材到井下时,此时电机长时间处于再生发电状态,需要进行有效的制动。因此采用能耗制动单元加能耗电阻的制动方案。
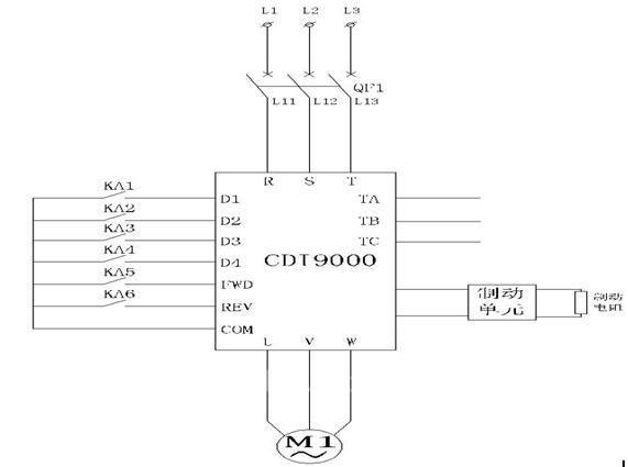
由于提升机电机绝大部分时间都处于电动状态,仅在少数时间有再生能量产生,变频器接入制动单元和制动电阻,就可以满足重车下行时的再生制动,实现平稳的下行。井口还有一个液压机械制动器,类似电磁抱闸,此制动器用于重车静止时的制动,特别是重车停在斜井的斜坡上,必须有液压机械制动器制动。液压机械制动器受原控制系统和变频器共同控制,机械制动是否制动受变频器频率到达端口的控制,起动时当变频器的输出频率达到设定值,打开液压机械制动器,重车可上行;减速过程中,当变频器的频率下降时,表示电机转矩已较小,液压机械制动器制动停车。紧急情况时,按下紧急停车按钮,变频器停机,液压机械制动器马上起作用,使提升机在尽量短的时间内停车。变频器采用多段速度设置,FWD、REV设为正反转,D1、D2、D3设为运行频率6Hz、18Hz、25Hz、35Hz、50Hz,以适应控制系统对提升机不同运转速度的要求。五挡速度加速和减速段的速度均在变频器上设置。变频调速原理图如下图 所示。


为克服传统交流绕线式电机串电阻调速系统的缺点,采用变频调速技术改造提升机,可以实现全频率(0~50Hz)范围内的恒转矩控制。对再生能量的处理,可采用价格低廉的能耗制动方案。为安全性考虑,液压机械制动需要保留,并在设计过程中对液压机械制动和变频器的制动加以整合。矿井提升机变频调速框图下如上所示。
三、电气系统改造方案:
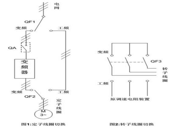
改造提升机用变频器是在原提升机电控系统的基础上,用变频调速系统替代原工频调速系统,同时保留工频调速系统,使两套系统互为备用,增加系统运行的可靠性。改造时需要增加工、变频转换功能。系统运行前,将主回路和控制回路各转换开关切换至相应的变频或工频位置。具体接法如下:
(1) 主回路
增加三个三刀双掷开关(QS1、QS2、QS3)作为主回路切换装置,三相电源、定子线圈、转子线圈分别接至相应开关的刀位置。如图 (1)、(2)所示。

所有开关切换至变频位置时,三相电源经双掷开关QS1、自动空气开关QA接至变频器输入端子(R、S、T)(同时将零线接至变频器零线端子N),变频器输出端子(U、V、W)经双掷开关QS2接至电机定子线圈,绕线电机转子线圈经双掷开关QS3后处于短接状态。
所有开关切换至工频位置时,三相电源经双掷开关QS1、QS2接至定子线圈,绕线电机转子线圈经QS3接至原调速电阻装置。
(2)操作与控制
依据提升机控制系统的不同,采用适当的接线方式,就可以实现灵活的操作方式。对于旧系统改造用变频器,为了不改变原来的操作习惯,可以用原来的操纵系统操作变频器。操作者通过主令控制器操纵杆控制电机正转五挡速度和反转五段速度,以实现电机的爬行、加速、减速、恒速运行,但在系统给出减速信号后,为保证整个系统安全,变频器仍然会启动机内自动减速程序速度。
经过几个月的运行,证明改造的效果比较理想,主要表现在:
1、实现了启动及换档时的软启动、软停车,减轻了对电网的冲击。
2、变频器的频率连续调节,分段预置,使调速更加方便、可靠,运行更平稳。
3、使用变频器后省去原先的换档接触器及调速电阻,即节省了维修费用,又减少了停机维修时间,从而提高了产量。同时改善了恶劣操作环境,使工人避免在夏季调速电阻发热告成的高温条件下工作。
4、在低速段节能效果十分明显。伏山矿井深400多米,测量时用电度表,在相同耗电量的情况下,用工频可拉19勾,而使用变频可拉25勾,即变频比工频多拉6勾。经估算节电率约为30%。
(转载)



