EnDat接口编码器数据采集设计方案
摘要:EnDat接口是HEIDENHAIN专为编码器设计的数字式、全双工同步串行的数据传输协议,具有传输速度快、 功能强大、连线简单、抗干扰能力强等优点,是编码器、光栅尺数据传输的通用接口。本文阐述了EnDat接口的特点、功能、时序和数据传输、OEM数据存储,同时介绍了编码器数据采集后续电路设计方案、基于FPGA模块设计的原理和原则。
一 概述
绝对式编码器利用自然二进制、循环二进制(格雷码)或PRC码对码盘上的物理刻线进行光电转换,将连接轴的转动角度量转换成相应的电脉冲序列并以数字量输出。它具有体积小、精度高、接口数字化及绝对定位等优点,被广泛应用于雷达、转台、机器人、数控机床和高精度伺服系统等诸多领域。绝对式编码器的数据输出以同步串行输出为主,EnDat接口是海德汉专为编码器设计的数字式、全双工同步串行接口。它不仅能为增量式和绝对式编码器传输位置值,同时也够传输或更新存储在编码器中的信息,或保存新的信息。由于使用了串行传输方式,所以只需四条信号线,在后续电子设备的时钟激励下,数据信息被同步传输。数据类型(位置值、参数、诊断信息等)由后续电子设备发送给编码器的模式指令选择决定。
二 EnDat接口介绍
EnDat接口的特点
高性能低成本:通用的接口适用于所有的增量和绝对式编码器,更经济的电能消耗,小的尺寸和紧凑的连接方式,快速系统配置,零点可根据偏置值浮动。
更好的信号质量:编码器内部特别的优化提高了系统精度,为数控系统提供更好的轮廓精度。
更好的实用性:自动系统配置功能;数字信号提高了系统的可靠性;监控与诊断信息有利于系统的安全;冗余码校验有利于可靠的信号传输。
提高了系统的安全性:两个独立的位置信息及错误信息位,数据的校验和及应答。
适用于先进的技术发展:(高的分辨率、短的控制周期,最快16M时钟,安全设计理念)适用于直接驱动技术。

图1 EnDat接口编码器数据采集原理图
2. EnDat2.2编码器性能的提高
传输位置值与附加信息可同时传输:附加信息的类型可通过存储地址选择码选择。
编码器数据存储区域包括编码器制造商参数、OEM厂商参数、运行参数、运行状态,便于系统实现参数配置。
EnDat2.2编码器实现了全数字传输,增量信号的处理在编码器内部完成(内置14Bit细分),提高了信号传输的质量和可靠性,可实现更高的分辨率。
监控和诊断功能,报警条件包括:光源失效、信号幅值不足、位置计算错误、运行电压太低或太高、电流消耗太大等;当编码器的一些极限值被接近或超过时提供警告信号。
更宽的电压范围(3.6~14V)和传输速率(16M)。
3.时序和OEM数据存储
在每一帧同步数据传输时一个数据包被发送,传输循环从时钟的第一个下降沿开始测量值被保存,计算位置值。在两个时钟脉冲(2T)后,后续电子设备发送模式指令“编码器传输位置值”(带或不带附加信息)。
在计算出了绝对位置值后(tcal---见图2 ),从起始位开始编码器向后续电子设备传输数据,后续的错误位F1和F2(只存在于EnDat2.2指令中)是为所有的监控功能和故障监控服务的群组信号,他们的生成相互独立,用来表示可能导致不正确位置信息的编码器故障。导致故障的确切原因保存在“运行状态”存储区,可以被后续电子设备查询。
从最低位开始,绝对位置值被传输,数据的长度由使用的编码器类型决定。传输位置值所需的时钟脉冲数保存在编码器制造商的参数中。位置值数据的传输以循环冗余检测码结束。

图2 无附加信息的位置值传输
位置值如果带附加信息,紧接在位置值后的是附加信息1和2,他们也各以一个CRC结束。附加信息的内容由存储区的选择地址决定,然后在后面的采样周期里被传输。在后续的传输中一直传输该信息,直到新的存储区被选择。在数据字的结尾,时钟信号必须置高电平。10us到30us或1.25us到3.75us(EnDat2.2可编程的恢复时间tm)后,数据线回到低电平,然后,新的数据传输可在新的时钟信号下开始。

图3 带附件信息的位置传输
同时,编码器为参数提供了不同的存储区,它们可以被后续电子设备读取,这些区域可以被编码器制造商、OEM厂商甚至最终用户写入。一些特定的区域是可以被写保护的。不同系列的编码器支持不同的OEM存储区和不同的地址范围。因此,每一个编码器必须读取OEM存储区的分配信息。基于此原因,后续电子电路应基于相对地址编程,而不能使用绝对地址。
三 EnDat接口后续电子设备的电路设计方案
使用者可以根据EnDat接口协议和电路电气特性自行设计接口电路进行数据采集与处理,同时海德汉也提供了特定的数据处理芯片供用户选择。如果用户自行设计电路,需遵循EnDat接口的电气特性,并需要掌握EnDat接口的协议,保证严格遵循协议的时序要求和数据帧格式。而如果采用海德汉提供的数据处理芯片,则可以简化设计,用户只需配置FPGA的寄存器,按照芯片可接受的指令格式发送指令,就可获得需要的数据。
通过遵循RS 一485 (差分信号)标准的收发元件,在后续电子设备发出的同步时钟激励下,数据(位置值和参数)可以在编码器和后续电子设备之间双向传输。
四 FPGA+软件宏
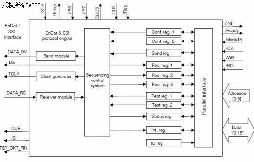
海德汉的合作伙伴MAZet公司针对Xilinx公司的Virtex和Spartan系列及Altera公司的Acex和Cyclone系列提供了EnDat协议的软件宏,根据客户需求,MAZet公司还可以提供定制软核。该软核实现了EnDat接口的所有功能,用户可通过6位地址线和16位数据线与微控制器进行8位或16位的数据传输。下面是FPGA的模块图和电路设计。

图4 FPGA模块图

图5 编码器和后续电路连接模块图
五 结束语
海德汉公司的EnDat接口在很多行业已得到广泛的应用,现在它又被提升到崭新高度。双向EnDat 2.2接口的时钟频率现已提高到16 MHz,能满足直接驱动这类高动态性能要求的应用,特别是电子工业的应用,时钟频率从8 MHz提高到16 MHz不仅将大大缩短读取位置信息所需时间,还可以大幅缩短控制环的周期。同时简单、经济的系统设计为客户提供了方便,强大的功能和通用性及具有前瞻的安全设计理念引导编码控制技术不断向前发展。
参考文献
[1] EnDat位置编码器双向数字接口 海德汉技术资料
[2] 高安全性控制技术 海德汉技术资料
[3] EnDat接口技术手册 海德汉技术资料
(转载)



