引言
在瞬态信号测量和图像处理等一些高速、高精度的测量中,往往都需要进行高速数据采集。现在通用的高速数据采集卡(一般多是PCI卡或ISA卡)存在有安装麻烦、价格昂贵、受计算机插槽数量/地址/中断资源的限制、可扩展性差,而且在一些电磁干扰性强的测试现场无法专门对其进行电磁屏蔽,因而会导致采集的数据失真等缺点。为此,本文给出了采用PHILIPS公司的一款LPC2142芯片(基于ARM7内核,内置了宽范围的USB2.0 Device全速串行通信接口)设计的数据采集卡的设计方案,从而有效解决了传统高速数据采集卡的上述缺陷。
1 基于ARM的数据采集卡系统结构
该系统主要由双通道模/数转换器AD9238、ARM微控制器LPC2142及FPGA器件EP1C3T100组成,图1所示是其结构框图。AD9238具有A、B两个通道,前端的差分放大器把模拟信号通过放大送入AD9238,由AD9238把模拟信号转换成12的数字信号同时送入FPGA中的FIFO缓存器进行缓存。然后由LabVIEW软件制作的界面便可向LPC2142发送控制指令,LPC2142读取FIFO缓存器中的数据后可通过USB端口发送给主机。而主机也可通过界面菜单选择采样频率、采样的起始点、模拟信号调理及读取精度测频数据等。

2 基于ARM的数据采集卡的硬件设计
2.1 AD9238模数转换芯片
AD9238是美国模拟器件公司(ADI)推出的快速12位双通道模数转换器。AD9238有3种型号,采样率最高分别可达20 MS/s、40 MS/s和65MS/s。AD9238可提供与单通道A/D转换器同样优异的动态性能,但是比使用2个单通道A/D转换器具有更好的抗串扰性能;AD9238采用单3 V供电(2.7~3.6 V);Rsn=70 dBc;Rsfd=85 dBc;ENOB为11.3 b;差分输入时,具有500 MHz的3 dB带宽;并有片上参考电压和1~2 Vpp的模拟输入范围。
AD9238的两个通道分别采用一个AD8138做为运放驱动芯片。I/Q两路中频模拟信号分别经过2个AD8138后变为差分信号送给A/D转换器(第2,3,14,15管脚)。
高速ADC对时钟的占空比很敏感。一般来说需要有50%(±5%)的占空比。AD9238可给每个通道单独提供时钟(管脚CLK_A和CLK_B),当2个通道的采样时钟同频同相时,系统会有比较好的性能,当2个通道小同步时,性能会有所下降。
本数据采集卡采用40 MHz的AD9238芯片,单双通道选择和转换频率采用软件控制。
2.2 Cyclone系列FPGA器件
由于高速数据采集系统的特殊要求,本设计在众多FPGA器件中选择了ALTERA公司生产的Cyclone系列器件。Cyclone系列的高性能和高密度是基于它先进的Stratix的工艺构架,可为高速应用提供非常高的性价比,此外,Cyclone系列器件内部RAM存储器还可以生成FIFO缓存器以便为高速采样提供缓存空间。
ALTERA公司的Quartus II软件是一款易于使用的综合开发工具,它集成了Altera公司FPGA/CPLD开发流程中所涉及的所有工具和第三方软件接口,其友好界面为设计提供了便利条件。
在这里,FPGA器件主要用于完成数据缓存、等精度测频、采样频率分频及触发控制等工作。
2.3 FPGA在触发控制中的应用
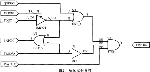
由于此数据采集卡是高速缓存式的,且缓存空间有限,所以不能采用连续式采集方式,而是采用触发式采集方式。为了提高数据采集卡的适用能力,使系统不仅可以采集周期信号,而且要能采集触发信号,还要能手动触发采集,笔者增加了触发点捕捉电路。该电路主要由AD8561电压比较器、FPGA芯片组成,由于AD8561芯片的转换速度很高,故能满足判断速度足够高的要求。可首先把模拟信号送到AD8561比较器的正输入端,负输人端则连接到LPC2142的D/A转换器输出端,LPC2142的D/A转换器输出电压作为AD8561比较器的参考电压,此参考电压可以通过向LPC2142的D/A转换器的寄存器写入不同的值来进行调节。此调节最终可通过LabVIEW制作的界面来控制。当输入信号高于参考电压时,AD8561的TOUT被拉高,TOUT的电平可以通过向AD8561的LATCH端输入高电平来进行锁存。
在手动采集方式下,TRIEN0为低电平,TRIEN1为高电平,当缓存器为空(即FWr_FUL为高电平)时,可通过LabVIEW制作的界面控制QSTART为高电平,并将FWr_EN拉高以进行数据采集。当缓存器满时,FWr_FUL被拉低,同时FWr_EN被拉低以停止采集。图2所示是本系统的触发控制电路。

在输入触发方式下,TRIEN0和QSTART为低,当缓存器为空(即FWr_FUL为高电平)且输入信号高于比较器的参考电压时,TOUT被拉高,同时FWr_EN也被拉高以进行数据采集。而当缓存器满时,FWr_FUL被拉低,FWr_EN也被拉低以停止采集。拉高TRIEN1后可读取缓存数据。
采集周期信号和输入信号触发方式相似,只是要保持TRIEN1为高电平。而在读取缓存数据时。只要触发信号到来就可进行采集。
3 基于ARM的高速数据采集卡软件设计
3.1 基于uC/OS-II的USB驱动编程
虽然uC/OS-II提供了多任务实时操作系统的内核,但在应用这个操作系统时,用户通常仍然需要自己编写基于uC/OS-II的外围器件驱动程序,以使外围器件能在操作系统的协调下更好的为用户服务。为了使软件可移植性、易维护,笔者编写LPC2142 USB固件时综合考虑了USB协议和LPC2142的USB硬件条件,并把驱动程序分为5层,图3所示是LPC2142的USB固件分层结构图。图中的双向线表示用户软件与USB固件之间存在着数据交换,单向线表示上层软件对下层软件的调用,这样设计,固件结构比较分明。

有了USB驱动程序,用户就可以在此平台上完成用户软件所要实现的任务。用户所要完成的任务如图4所示,图中的单向线表示主任务对读写任务的控制。主任务通过信号量来控制读/写任务的运行状态,从而实现对FIFO缓存器的读和写。双向线则表示各个模块之间存在着数据交换。为了加快大量数据的收发,本程序把LPC2142 USB的逻辑端点1作为控制命令的传输管道,而把端点2作为数据的传输管道。

主任务会不断地读取端点1,如接收到PC机发来的读命令,就激活高优先级读任务的就绪信号量,以唤醒读任务并进入读中断服务程序,同时把缓存器数据通过USB总线发给PC机,发送完毕关闭读任务的就绪信号量并同到主循环,以等待PC机发来下一个命令。写任务则与此相似。
3.2 LabWindows/CVI工具简介
虚拟测量仪器的关键是要具有易于生成良好操作界面和强大数据处理能力的工具软件。本系统的全部程序是用LabVIEWI开发的。LabVIEW是美国NI公司开发的基于C/C++的、专门用于虚拟仪表及过程控制的可视化编程语言。用Lab-VIEW提供的控制件库(包括开关、旋钮、图表等)可以很容易地设计出符合实际要求、界面新颖美观的操作界面。此外LabVIEW具有很强的数据处理功能,它提供了丰富的库函数以用于数据输入接口、数据处理(FFT等)和图形显示等功能,为开发应用软件带来了极大方便。图5是用LabVIEW开发的系统操作界面。

3.3 基于LabWindow/CVI的主体软件设计
整个主机运用程序包括面板设计、初始化、数据采集、数据处理和结果显示等几部分。
(1) 面板设计
主要是提供友好的操作界面,设计要求能符合常规测量仪器的操作习惯。
(2) 初始化
完成系统初始化功能,包括复位、送工作方式字、设置程序运行参数等。
(3) 数据采集
由于LabVIEW不能直接访问用户自己设计的硬件,因此,作为一个开放式开发平台,Lab-VIEW提供了DLL接口,以使用户在LabVIEW平台上能调用其它软件平台编译的模块,并提供对对象连接和嵌入技术(简称OLE)的支持。笔者利用VC++6.0编写了一个DLL文件,并在LabVIEW环境下调用该文件,从而实现了LabVIEW程序与数据采集卡的数据通信。下面是为读写USB设备所创建的DLL编译项目的相关文件:
DLLBulk.h:声明变量或功能函数的头文件;
:模块定义文件,是由若干个描述DLL模块参数的语句组成的文本文件;
:该文件为DLL主要代码文件;
对下的各个文件进行编译之后,即可在菜单栏中选择Build->Build 以生成可以被LabVIEW调用的DLL文件。
(4) 数据处理及显示
将采集并保存在内存中的采样数据进行各种处理以用于不同测量目的。包括信号波形实时显示、自动测量信号幅度和时间、图形存盘、删除图形及回放等。限于篇幅,程序清单此处略。
4 结束语
本文给出的整个虚拟测量系统完全可在人机交互操作下运行,并可随时更改测量参数及进行各种信号处理。系统各项指标如下:
(1) 最高采样率40 MHz,并可按1/2、1/4、1/8、…、1/128程控分频采样,双路模拟输入;ADC精度为12 bit;模拟输入范围为0~2 V;在板数据缓存4 K字节/路,传输方式为块传输。
(2) 系统可对信号波形进行实时、最大值、最小值、或峰峰值显示。
(3) 系统可提供显示图形的存盘、回放、删除图形文件等处理功能。
(转载)



