3.1 设计的重要性及思想
1.主回路设计的重要性:
实现高压电机试验首先必须解决的问题之一是主回路的设计,这步非常关键,控制系统和测量系统都是基于主回路系统工作,并对它进行自动化、智能化控制及测量,是整个系统设计的基石。
2.设计的基本思想:
1)负载可调;
考虑系统要实现的功能和设计的要求,既然是负载试验,首先必须解决负载问题,为了方便起见,采用双电机系统,只要让负载电机工作在发电状态,即成为被试电机的负载,但是又必须解决负载在一定范围(被试电机允许的负载)之内平滑可调,只要在一定频率范围内改变负载电机的频率,即可改变被试电机的负载,本系统中采用变频机组来平滑调节频率,这样达到改变被试电机负载的目的。
2)高压可调;
系统一般进线电压为380V,要实现所规定的高压,并且让其可调,必须用到升压变压器和调压侧,所以在两侧都要用升压变压器和调压器。
3)测量仪表的选定;
在本系统中测量电流用电流互感器,考虑负载的大幅变化,被测电流的变化范围,要用到几组电流互感器来随电流的变化自动切换,提高电流测量的精度。电压的测量采用电压互感器。
4)稳压和稳频;
主电路中进线电压为电网电压,难免会有所波动,而且,调压过程中电压也会略有抖动,因此,考虑在被试侧的低压侧接上稳压器件。负载侧由于变频机组本身具有稳压、稳频功能。所以不需要再接稳压器件。
5)高压保护装置;
因为两侧都是高压线路,所以在两侧必须装有高压断路器和高压隔离开关,以便电路在异常情况下自动切断线路,也有利于手动控制线路。
3.2 主回路的硬件接线及工作原理
基于3.1节设计思想主回路硬件接线如图3.1所示:

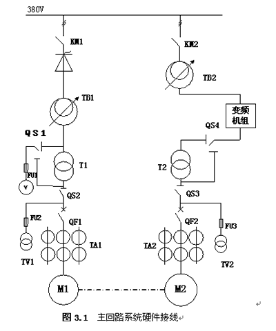
QF:高压断路器;QS:高压隔离开关;TA:电流互感器;TV电压互感器;TB:调压器;T:变压器;FU:熔断器
本系统采用双路高压,一路为被试机(M1)供电,一路为作为负载用的负载电机(M2)供电。值得注意的是,在进行负载试验时,负载能量经电源机组、调压器回馈到低压侧电网。具体为:负载电机与被试电机同轴联接,通过电源机组调节负载电机的转速,使被试电机与负载之间形成一定的转速差,即使负载电机的频率f<50HZ,处于发电状态,从而为被试电机加了负载,改变变频机组的输出频率,即可改变被试电机的负载大小。由于M2以发电机方式运行,则产生的电能通过电源机组经调压器回馈至电网。因此,从整个系统角度来看,系统消耗的能量主要为系统内各电机的损耗。所以,本系统具有运行效率高的优点。值得注意的是,要限制变频机组的频率变化范围,以防被试电机过载。在本系统中拟定输出的变频范围为 8~50Hz。
在主回路中,如被试电机在电动机状态工作时,首先在低压下让其旋转方向相同, 启动负载电机,将其电源频率和电压调到额定值左右,随即被试电机通电,调节电压至额定值,然后降低负载电机的电源频率,让被试电机逐渐加负载至额定值,负载电机作发电运行,直至被试电机达到热稳定状态。接着在满足功率调节范围在1.25~0.25PN内用变频电源平滑调节被试电机的负载, 测取数据的过程中,被试电机应保持频率和电压不变;辅助电机应保持额定电压不变。
3.3主回路相关设备的选择
一、高压试验对调压器的基本要求
高压试验必须有一个能满足技术标准要求的可调试验电源。通常在高压试验变压器的前级选配合适的调压器,借助调压器的电压调整,使高压试验变压器输出满足要求的、无级连续、均匀变化的试验电压。高压试验配用的调压器,除了其输出容量、相数、频率、输出电压变化范围等基本参数应满足试验要求外,还要求调压器应具有以下性能。
1)输出电压质量好 如要求调压器输出电压波形应尽量接近正弦波;输出电压下限最好为零;有些场合还要求输出电压与输入电压相位相同。
2)调压特性好 如要求调压器阻抗不宜过高;调压特性曲线平滑线性;调节方便、可靠。
3)环境保护好 如要求调压器运行噪声小。
二、调压器和变压器的选择
高压试验用调压器,一般采用移圈调压器、感应调压器和接触调压器三种类型。在本系统中采用柱式接触调压器。
柱式接触调压器是一种输出电压连续可调的自耦变压器。它具有输出电压波形正弦性好,输出电压下限可以为零,调压特性平滑、连续、线性;短路阻抗可以控制在较小范围内,运行噪声小以及输出电压与输入电压相位基本相同等优点,是一种比较理想的高压试验用调压器。
图3中主回路进线电压为380V,但是高压侧电机的额定电压为10KV,必须通过调压器和升压变压器才能达到高压,拟定调压范围为1KV~12KV,通过调压器使其电压在40~600V范围内变化,升压变压器的变比为0.4KV~10KV。值得说明的是,调压器和变压器只分别给出了调压范围和变比,没有选择实际的型号。实际运用时必须按标准选择型号。
第4章 电气控制系统设计
以GB1032三相异步电动机试验方法为依据,保证试验过程满足要求,根据此要求设计电气控制系统。由控制系统由工控机(上位机) 、PLC(下位机)和控制装置等组成。上位机采用组态王组态软件,下位机采用三菱FX2N型PLC,通讯采用RS - 232接口(实验用)。其中组态王软件提供可视化菜单,试验人员按组态界面的提示,由工控机发出控制指令,通过可编程序控制器对系统实现控制。
4.1 上位机的设计
4.1.1 组态王软件功能分析
本系统上位机采用了组态王6.0x,该软件操作方便,结构清晰,易于上手。而且采用了多线程、COM组件等新技术,实现了实时多任务,软件运行稳定可靠。
而且,它能充分利用Windows的图形编辑功能,方便地构成监控画面,并以动画方式显示控制设备的状态,具有报警窗口、实时趋势曲线等,可便利的生成各种报表。它还具有丰富的设备驱动程序和灵活的组态方式、数据链接功能。该软件把每一台下位机看作是一台外部设备,在编程过程中根据“设备配置向导”的提示一步步完成连接功能。在运行期间,组态王通过驱动程序和这些外部设备交换数据,包括采集数据和发送数据/指令。每个驱动程序都是一个COM对象,这种方式使通信程序和组态王软件构成一个完整的系统,既保证了运行系统的高效运行,也可扩大系统的规模。
工业自动化通用组态软件—组态王软件系统与最终工程人员使用的具体的PLC或现场部件无关。 对于不同的硬件设施,只需为组态王配置相应的通讯驱动程序即可。组态王支持的硬件设备包括:可编程控制器(PLC) 、智能模块、板卡、智能仪表、变频器等等。工程人员可以把每一台下位机看作一种设备,而不必关心具体的通讯协议,使用时只需要在组态王的设备库中选择设备的类型完成安装即可,使驱动程序的配置更加方便。
4.1.2 组态王6.0x的构成及建立新程序的过程
“KINGVIW6.0”软件包由工程管理器、工程浏览器和画面运行系统TOUCHVEW三部分组成。其中工程浏览器用于新建工程、工程管理等。工程浏览器内嵌画面开发系统,即组态王开发系统。工程浏览器和画面运行系统是各自独立的Windows应用程序,均可单独使用;两者又相互依存,在工程浏览器的画面开发系统中设计开发的画面应用程序必须在画面运行系统中才能运行。
工程管理器主要用于KINGVIEW工程的管理。
利用KINGVIW建立新程序的一般过程是:
1)设计图形界面;2)构造数据库;3)建立动画连接;4)运行和调试。
在用KINGVIEW画面开发系统编制应用程序时要依照此过程考虑四个方面:
图形。就是怎样用抽象的图像画面来模拟实际的工业现场和相应的监控设备。“KINGVIEW6.0”采用面向对象的编程技术,使用户可以方便地建立画面的图形界面。用户构图时可以像搭积木那样利用系统提供的图形对象完成画面的生成,同时支持画面之间的图形对象拷贝,可重复使用以前的开发结果。
数据。怎样用数据来描述工控对象的各种属性?也就是创建一个具体的数据库,此数据库中的变量反映了工控对象的各种属性,数据库是“KINGVIEW6.0”最核心的部分。在TOUCVEW运行时,工业现场的生产状况要以动画的形式反映在屏幕上,同时操作者在计算机前发布的指令也要迅速送达现场,所有这一切都是以实时数据库为中介环节,数据库是联系上位机和下位机的桥梁。在数据库中存放的是变量的当前值,变量包括系统变量和用户定义的变量。变量的集合形象地称为“数据词典”,数据词典记录了所有用户可使用 的数据变量的详细信息。
动画连接。所谓“动画连接”就是建立画面的图素与数据库变量的对应关系,当变量的值改变时,在画面上以图形对应的动画效果表示出来;或者由软件使用者通过图形对象改变数据变量的值。这样,工业现场的数据当它们变化时,先通过I/O借口,引起实时数据中变量的变化再通过“动画”在画面上反映出来。
硬件接口。KINGVIEW软件系统与最终用户使用的具体的现场部件无关。对于不同的硬件设施,只需为组态王配置相应的通信驱动即可。
4.1.3系统组态界面的设计
根据电机的负载变化,试验又分负载试验、空载试验、堵转试验等,在此系统设计中,由于时间有限,系统组态界面设计过程中主要设计了负载试验、空载试验和对应参数的实时曲线界面。以下以建立主画面为例,讲述界面设计的过程。
打开组态界面,新建工程,工程名为电机智能试验系统(主画面)。
具体步骤如下:
1)在工程管理器中选择菜单“文件/新建工程”,或者点击工具栏的“新建”按钮,出现“新建工程向导之一”对话框。
2)单击“下一步”按钮,弹出“新建工程向导之二”对话框。
3)单击“浏览”按钮,选择所要新建的工程存储的路径。
4)单击“下一步”按钮,弹出“新建工程向导之三”对话框:
在对话框中输入工程名称:“电机智能试验系统”
在工程描述中输入:“测试电机的性能”
单击“完成”。
5)弹出对话框,选择“是”按钮,将新建工程设为组态王当前工程。
6)在菜单项中选择“工具/切换到开发系统”,直接打开组态王工程浏览器,则进入工程浏览器画面,此时组态王自动生成初始的数据文件。
7)在工程浏览器中左侧的树形结构中选择“画面”,在右侧视图中双击“新建”。
工程浏览器将弹出“新画面”对话框,然后在新画面中首先进行页面设置,如画面位置、画面风格等。
画面中要新建的图素主要以主回路为依据,以新建电压互感器为例:
按F2键打开图库管理器,选择你所要的图素—电压互感器(若无,用户可以自己根据自己的需要创建新的图素),在工程画面上单击鼠标,出现电压互感器,然后调整大小并放到适当的位置即可。
空载试验界面如图4.1所示:

负载试验组态界面如图4.2所示:

实时趋势曲线如下图4.3所示:

在本系统中,由于被测电机的容量可在一个较大范围内改变,测试的内容也有空载和负载之分,因此电机的电流变化的范围很大,从几安培到几十安培甚至上千安培。考虑到工作方式为自动/手动两种方式。并且手动方式中由于用户的需要仍要求采用指针式仪表读取试验数据,因此保证在大范围内都能精确读取电流值是本系统设计的难点之一。在本系统中,电流仍通过电流互感器来测量。考虑到电流的变化范围必须要用到多组电流互感器。在本文中有代表性的选用了两组电流互感器,它们分别为5/5、30/5两种。如图4.1中红线框所示,方便起见,见下图4.4所示:
其中TA1与TA2为不同量程的电流互感器,通过QF2、KM1和KM2之间的切换,可选择不同量程的电流互感器接入。可以通过电流继电器作相应的切换,从而选择出对应的被测电流。由于电流互感器测量时次级是不允许开路的,所以在进行电流换档时,要求将要换去的电流互感器,先短路原边测量线圈,然后再断开副边线圈。而要换上的电流互感器则先接通副边线圈后断开原边线圈。
在以上空载和负载组态控制画面上,操作人员可直接点击画面上的控制按钮,实现相应的控制。
(转载)



