***概述***
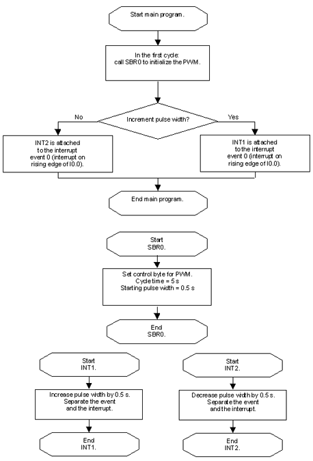
---- 在S7-200系列中,CPU-214的输出端Q0.0和Q0.1能够输出方波信号,而且方波信号的周期和脉宽均能独立调节,其中脉宽指的是在一个周期内,输出信号处于高电平的时间长度
----下面这个例子说明了脉宽调制(PWM)是如何工作的。输出端Q0.0输出方波信号,其脉宽每周期递增0.5秒,周期固定为5秒,并且脉宽的初始值为0.5秒,当脉宽达到设定的最大值4.5秒时,脉宽改为每周期递减0.5秒,直到脉宽为0为止,以上过程周而复始
|
|
|
具体程序(有详细中文注释)可以下载直接调试:
(转载)




