利用变频调速智能控制系统对冷镦机进行电气改造,实现冷镦机在30~120件/min的范围内进行无级调速,加工零件总数预设置,加工零件数量动态显示,零件加工达到预设数时自动停机,中间停机加工零件数保持等功能。
我公司某厂一6台冷墩机是20世纪50年代从前苏联进口的设备,是飞机铆钉的专用生产设备。70年代初,曾将电气控制系统改造为可控硅直流调速系统,至今已服役了30多年,电机整流子严重磨损,控制箱元器件老化严重,已无法保证加工精度要求。经分析,决定采用变频调速智能控制系统进行改造。
一、改造要求
1.在不改动机床机械传动系统的情况下改造为无级调速,调速范围为30~120件/min。
2.变速系统安全可靠,使机床平稳连续变速。
3.增加数显装置以计量加工件数,装置具有设定加工工件总数、达到设定值时自动停机、当中间需停机续料或出故障停机后再次开机时连续计数的功能。
二、变频调速系统、智能型仪表控制系统简介
根据电气技术改造要求,选择了变频调速系统加智能型仪表控制系统。用调速电位器通过变频器对变频电机在0~1500r/min范围内无级调速;智能型仪表通过NPN接近开关对加工零件数量进行采集,再通过内部参数的设置和操作实现对设备的控制。
选用ABB公司的ACS401—006—3变频器,具有运行性能稳定,扩展性能强,维护方便等特点。该变频器电机恒转矩4.0kW;输入电流11.1A,输出电流12.8A,过流(峰值)37A;输入信号:启动、停止和方向,模拟给定值;输出信号:模拟输出(频率),继电器输出1(故障),继电器输出2(运行)。
转速的动态显示选用DP3—SVA1A专用数显表,具有小数点设定、比率、量程及零点调整,DC 12V辅助电源输出等功能。输入电源:电流0~20mA,电压0~10V;采样速度约2.5次/s;响应速度约4.5s;最大显示9999,自由设定小数点;电源为AC 110/220V、50/60Hz。调速开关选用2W,1kΩ线绕电位器。
采用智能型可逆预置数计数器与接近开关配合,以实现零件加工数量显示。该计数器具有以下特点:采用开关电源,电压适应范围大,抗干扰能力强;直接显示实际值,并可设定显示有效小数位数;键盘设定,LCD带背光源显示,操作简单;5种计数输入模式,4种输出模式,自动复位时间0.01~9.99s可调;使用键盘锁定功能,根据要求锁定不需要使用的键,防止误操作。
三、硬件电路设计
变频器控制采用工厂应用宏(Factory)模式,是ABB公司专为工厂无操作盘场合设计的,它提供了3线I/O配置。
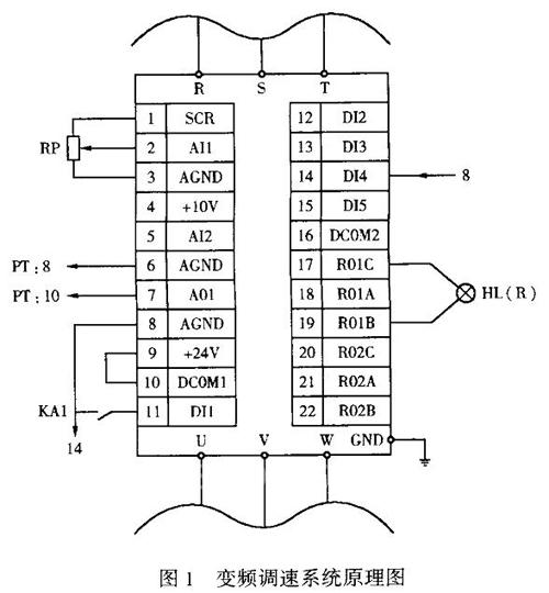
变频调速系统原理图见图1。调速电位器(RP)接至变频器的外部给定调节输入点(SCR、AI1、AGND),可以使变频器的输出频率在0~50Hz范围内改变,从而实现对变频电机的无级调速;将控制柜面板上的数显表接至变频器的输出频率点(AGND、A01),在数显表上动态显示变频器的输出转速;将报警灯接至变频器的继电器输出点(ROIB、ROIC),当变频器工作异常时报警。

智能型仪表控制系统原理图见图2。

在计数器面板上设定加工零件的总数;在计数器的信号输入点(9、12、14)接入NPN型接近开关(SQ)。冷墩机每加工完成一个零件,接近开关发出一个信号给计数器,在显示屏上显示。计数器在显示零件加工数量的同时,对预先设置的加工总数进行减1操作,当预置数减为0时,辅助输出常闭触点(3、4)断开,使中间继电器KAI失电,设备停止运行。为防止在自动加工过程中计数器设定的数据被他人更改,在计数器键保护输入点(14、15)接一钥匙开关(SA1),操作者设定完相关参数以后,旋动SA1可以将计数器操作面板上的所有键锁定保护。
在计数器面板上设定加工零件的总数;在计数器的信号输入点(9、12、14)接入NPN型接近开关(SQ)。冷墩机每加工完成一个零件,接近开关发出一个信号给计数器,在显示屏上显示。计数器在显示零件加工数量的同时,对预先设置的加工总数进行减1操作,当预置数减为0时,辅助输出常闭触点(3、4)断开,使中间继电器KAI失电,设备停止运行。为防止在自动加工过程中计数器设定的数据被他人更改,在计数器键保护输入点(14、15)接一钥匙开关(SA1),操作者设定完相关参数以后,旋动SA1可以将计数器操作面板上的所有键锁定保护。
通过智能性预置数计数器使改造后的冷徽机实现了加工工件数量数码显示,可以在0~999999范围内任意设定加工工件总数。当加工工件达到预设数值时,设备自动停止工作,等待新的任务。当加工过程中中间需要停机续料或因故障停机时,零件加工数量保持年限最大可达10年,重新启动时可以接着计数。计数器可以通过操作面板和背后按钮进行复位,操作简便,维护方便。
四、设备调试和运行情况
1.硬件现场连接。将接近开关安装于设备上,依据电气原理图连接各部分元件。
2.参数设置。根据用户单位的要求,通过设定加减速时间参数(2202),将变频器启动频率由1Hz上升到50Hz(即电机转速由0r/min上升至1500r/min)所需的时间设置为3s。
3.加工试验。先在手动模式下启动设备加工零件,设备运行动作正确,改为自动模式。在计数器上设定加工零件的总数为30件,启动设备,当加工数量达到30件,设备停止运行。在手动和自动模式下,转动调速电位器,零件加工速度随之改变,数显表上显示出不同时期的速度。
4.急停和保持。按下控制柜操作面板上的急停按钮,设备停止运行。拉掉总电源,计数器上的数据保持不变。重新送电启动后,设备接着加工零件,直至达到预置数后停止。
5.复位。按动计数器操作面板上的两个复位开关,可以分别将预置数和加工数复位。
6.键保护。旋动钥匙开关(SA1)后,计数器操作面板上的按键操作均失效。
设备经过6个月运行,状况良好,各项技术参数均达到了用户单位的要求。
冷墩机电气改造后,扩展性增强,可进一步在系统中加入可编程控制器(PLC),通过增加信号输入点和编程,实现对加工过程的自动控制。
(转载)



