关键词:UPS,供电改造,共用电池组
一、概述
上海某供电局UPS供电局,负责上海某区的电力调度及监控,该供电局自启动数字化监控系统以来,前后经过两次UPS供电扩容改造,因负载容量逐步扩大,此次系统将进一步扩容,并对原有系统配电进行改造。同时由于设计施工不规范,系统存在重大隐患, 此次扩容需一并解决。
1. 原系统配置
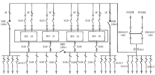
如图一所示:该供电局配置两路市电,分别由交流进线屏1和交流进线屏2向UPS供电,两个交流进线屏间由一个手动切换屏,可以进行切换。1#UPS和2#UPS为M品牌的15KVA 1+1并机系统,3#UPS为A品牌UPS,设计容量为15KVA。交流进线屏1向3#UPS和2#UPS供电,交流进线屏向1#UPS供电。
2. 系统存在的几个重大缺陷
a. 1#UPS和2#UPS组成并机,但是分别由进线屏1(市电1)和进线屏2(市电2)分别供电,造成UPS转旁路时,并机系统会存在两路市电,造成短路,严重威胁整个系统安全。
b. 由于1#UPS和2#UPS的交流输入分别来自不同回路的市电,可能出现其中一路交流输入故障,致使一台UPS工作于正常状态,另一台工作于后备状态,造成两套UPS逆变输出并机环流增大,负载均分误差增大,引发UPS故障。
c. 如图二所示,整个存在一个共同的维修旁路(由K10、K11、K12组成)。由于三台UPS的交流输入分别来自不同两路市电,,所以存在不同市电回路短路的危险,真正维护时也无法实现不停电维护。同时也存在因人员操作,引起短路的危险。
二、客户需求
1. 对现有UPS系统进行扩容,移除原有的3#UPS,新增两台30KVA UPS组成1+1并机,并对现有配电屏进行改造。
2. 合理投资方案,同时减少占地面积。
3. 設置一个共同的维护旁路,要求4套UPS能够同时维护检修。
4. 在系统中留出一定余量的配置,供以后扩展需求。
三、改造方案
经与该供电局工程师进行详细沟通,并实地考察后,我司多名工程师,根据要求,拟制了一份详细的改造方案,方案涵盖了UPS设备选型,配电改造,施工等部分全部内容,其中UPS部分改造方案如下:
1、 两路市电,经ATS切换屏后,二选一供给负载及UPS使用。
2、 新增台达NT30KVA UPS两套(3#、4#),组成1+1并机。
3、 采用共用电池组方案,最大限度优化投资方案,同时减少空间占用。
4、 所有UPS旁路取A相,保证任一时刻,并机系统内两台UPS均在同一路市电状态。
5、 1#UPS、2#UPS组成的并机系统、3#、4#组成的并机系统分别设置一个维修旁路。两个维护旁路中间设一个联络开关,必要时闭合次开关,使所有UPS处于维修旁路供电状态。
6、两路UPS并机输出配电屏,各预留一组C65-20断路器,预备后期系统负载扩容需求。

图一、改造后系统图
四、改造后系统运行分析
整改后的系统由一套15KVA 1+1并机和一套30KVA 1+1并机构成,两套系统各自向负载供电。
以30KVA UPS并机为例。当市电正常时,两路交流电经ATS自动切换后,由UPS整流、逆变后向负载供电。当其中一路交流电故障时,ATS自动切换另一交流供电回路,由该回路向UPS提供能量。只有两个交流均异常时,UPS才利用电池组的能量,逆变输出交流电供给负载使用,保障负载的平稳安全运行大幅提高市电利用率,减少电池放电次数。
正常工作时,两台UPS负载均分。当并联系统中的一台UPS发生逆变故障,此时由另一台UPS向负载供电。如果此时UPS负载总量超过30KVA,则两台UPS均自动切换至旁路供电,切换时间小于1ms,保证负载的无中断运行。当遇到UPS逆变器异常时(过温、过载、短路、电池放电终止等),逆变器自动锁机,此时如果备用电源正常,则负载转为备用回路供电状态。当逆变器异常排除后,则会自动切回主回路供电。
系统设有手动维护旁路,当UPS需要检修或者维护时,两套并机系统可各自进入维修旁路状态,互不影响。当系统需要总检修是,可以按照UPS操作程序,把各台UPS切换至维修旁路状态,然后闭合1#、2#旁路开关、3#联络开关,即可使4台UPS内部全部断电,即可进行检修维护。检修完毕后,断开3#联络开关,再使UPS工作于维修旁路状态,再断开1#、2#旁路开关,然后按照UPS操作程序,重新开启UPS即可。
五、台达UPS简介及共用电池组方案介绍
方案中新增的两台30KVA UPS并机共用一套电池组,市电正常时,各UPS同时给电池组充电,市电异常或者中断时,各UPS又同时利用电池组的能量逆变成交流电供给负载。
1. 台达NT系列UPS简介
台达NT系列 UPS是专家精心研究为大型用户所设计,其主要应用领域为各种数据数据处理系统、电信系统、卫星系统、网络系统、医疗设备、安全紧急逃生设备、监控保全系统、各种工厂设备。
台达NT系列UPS采用先进的IGBT高频切换正弦脉宽调变技术设计,使UPS供电质量好、效率高、热损耗小、噪音低、体积小及寿命长,同时采用模块化设计可降低平均修护时间(MTTR),使维护工作更简便,藉由微处理器的数字化设计,简化复杂的模拟线路及大量减少零件数目,使系统更为安全可靠。
为
了强化UPS系统供电的可靠度,台达NT系列可提供两种高可靠运行设计方式:
a. 利用双回路设计,将UPS连接成双机热备份(Hot-standby redundancy)。
b. 利用双机并联回路设计(Parallel redundancy)—最多可8 台UPS并联冗余, 且无须外加并联控制卡。
智能型微处理器控制的多国语言及图形化LCD显示;可让使用者明确了解UPS运作模式整体状况,正确操作,确实管理及维护。内容包含有:
a. UPS系统运行状态图。
b. 各种电气指标参数测量。
c. 设备的基本数据。
d. 告警信息,事件记录。
e. 参数修改设定。
使用者并可透过不同的通信埠(RS232/RS485/SNMP/DRY CONTACT/ETHER NET等)直接连接计算机或透过网络进行远程监控,使微处理器对UPS各种诊断信号传送至计算机屏幕,使用者可直接在计算机上对UPS进行监视及控制,并集中控制管理,提升UPS的安全性, 节省人力资源。
人性化设计使台达NT-系列UPS为使用者提供了可用性强的高质量电力,为广大信息用户的最理想守护神。
2. 台达NT系列UPS共用电池组技术介绍

图二、台达NT系列UPS共用电池组方案示意图
台达NT系列UPS的整流器采用专门的CPU来控制,采集信号准确及时,驱动信号正确无误,抗干扰能力强。UPS具有自动均流功能,不但能保证每台UPS的三相输入电流一致,还能自动调整并联系统中各台UPS的整流器之间的电流差,使各整流器电压幅值一致,负载实时均分,以提高整个系统的安全性。台达NT系列UPS不论单机运行还是共享电池组,其直流电压稳定度都能达到<±1%。
两台UPS共用电池组具有以下优点:
a. 节省50%购买电池的资金投资,相应的搬运、安装等投资也会跟着减少。
b. 节省安装空间投资,同时也就减少了房租、装修费、空调配置等方面的投资。
c. 节省承重方面的投资。
d. 节省运营成本和维护成本投资。
e. 系统扩容比较方便,只加主机不加电池也可以。
f. 发挥电池的最大效能,提高电池利用率
六、结语
经过改造后,整个系统供电可靠性大大提高,并且留足了余量,可供未来很长一段时间内负载的需求,有力的保障了该供电局的数字化建设进程。同时由于采用共用电池组技术,最大限度优化了电池投资,节约的大笔的电池投资及间接投资。
(转载)



