摘要:斗轮堆取料机采用PLC进行控制具有故障率低, 抗干扰性好, 可靠性高, 运行稳定,等优点,而采用PROFIBUS- DP 总线控制, 可节省大量的控制电缆及安装费用, 安装简单,维护方便。
1. 前言
斗轮堆取料机,是大型散装物料装卸机械,广泛用于港口、矿山、钢厂、电厂等大宗散料如矿石、煤、砂石等在存储料场的堆放、提取作业,其工作连续性强,操作频繁。斗轮堆取料机传统的开关量顺序控制, 是采用继电器和接触器构成的逻辑控制装置, 这种传统的控制装置能在一定的范围内满足自动控制的需要,但因需要大量的触点装置和电缆使其控制线路过于繁复、可靠性差和维修难度大。PLC 以其稳定的性能、低廉的成本、强大的功能及方便的编程等特点广泛应用于工业控制领域。
本文采用西门子触摸屏TP270 ,西门子 S7-300 可编程控制器, Profibus-DP ( 分布式I/O) 控制机上的各执行机构。控制网络简单, 系统优化, 完全满足机上的各执行机构的控制要求。
2. TP270触摸屏组态
Simatic TP270具有价格低廉、坚固耐用、结构紧凑、显示清晰、组态简单高效等优点,TP270的引入能够大大减少司机室内的仪表盘、指示灯、数码管等从而减少设备间的布线,使运行更加可靠,同时使设计人员能够根据实际情况灵活改变显示内容与方式,大大提高了整机的控制性能和水平。
本文采用Protool V6.0进行触摸屏画面组态,根据斗轮机设备需要及特性,画面设计总体分为一个主画面、六个子画面,其逻辑关系如图1所示:

子画面共分为四大类:一是画面操作部分(在触摸屏上操作设备的运行、停止、堆料、取料等);二是各设备状态显示(显示各设备到位位置及运行状态)及数据显示部分(显示机上各电机运行电流、行车、回转、变幅位置数值);三是故障显示及故障报警列表、历史报警列表(显示各设备故障指示及故障查询)等;四是系统设定,在不退出程序的提提下,以方便对触摸屏本身各参数的设置。
部分PT画面如图2、图3所示:


组态程序编写完毕,用编程器为TP270下载程序时,要注意设定TP270的传送通道及传送波特率,考虑到下载速度,本例中波特率设置为115200。
3. 系统组成及通讯
3.1 系统硬件配置
根据斗轮堆取料机的控制要求,结合目前运用成熟的总线技术,系统采用Profibus总线技术。系统由Profibus-DP网络和MPI网络共同组成。 Prof ibus是一种开放式异步通信标准,可以实现各种自动化设备之间的数据交换,由3个兼容部分组成,即Prof ibus-DP、Prof ibus-PA和Prof ibus-FMS。Prof ibus-DP是一种开放式现场总线系统,实现快速响应和高速数据通信,用于设备级控制系统与分散式I/O的通信。Profibus-DP主站周期性地读取从站的输入信息并周期性地向从站发送输出信息,除周期性用户数据传输外,提供职能化设备所需的非周期性通信以进行组态、诊断和报警处理。采用RS485 传输技术,物理传输介质为双绞线、双线电缆或光缆,波特率从9.6k~12Mbit/s。主战间为令牌方式传送,主战与从站为主-从传送,支持单主或多主系统。
MPI是一个多点接口通讯网络,最多可连接125个MPI节点,通讯速率为187.5kbit /s。可以在不同的控制器之间传输数据,还可以作为一个Prof ibus-DP接口使用,操作员控制和监视设备HMI及编程设备PG可通过两种接口(MPI、Profibus-DP)连接。
根据斗轮堆取料机电气控制系统的特点,分别在上部电气室和下部电气室配备Profibus-DP主站和从站,触摸屏设置在司机室,以方便司机操作及故障查询。 上部电气室选用西门子S7-300 CPU315-2DP可编程控制器作为主站,CPU315-2DP本机具有1个MPI接口和1个DP接口,从站设在下部电气室,从站I/O 模块选用ET200M,选用IM153-1 通讯接口模块。大车行走、悬臂变幅及回转机构通过变频器来控制,变频器作为从站通过CBP2通讯板(Profibus通讯模块)连接在系统总线上。系统硬件配置如图4所示:

3.2 系统硬件组态
PLC编程软件采用西门子SIMATIC STEP7 V5.4。启动软件后,进行硬件组态,选中SIMATIC300(1),双击右边窗口中的“硬件”图标,组态其硬件。将所选CPU和各输入、输出模块插入 SIMATIC S7网络,并定义各模块I/O地址。依次将IM153-1、变频器挂到Profibus网络,设置PLC 为主站其地址为( 2) , ET200M为从站,其地址设置为( 3) (注意设定地址须和ET200M硬件上拨码数字相同) , 行走变频器, 回转变频器, 变幅变频器地址分别设置为( 4) ( 5) ( 6) 。变频器的从站地址必须与PROFIBUS 主站上配置的地址相一致, 且总线上每个单元的地址必须是唯一的PLC 主站中的用户程序存取, 经过总线系统的通讯是完全由PLC 主站中的主接口和IM153-1接口进行处理。PLC 主站将数字量信号通过PROFIBUS-DP 总线经PROFIBUS 模块传送至变频器, PROFIBUS 模块安装在变频器的正面,通过RS485 串行接口与变频器通讯。其配置图如图5所示:

[DividePage:NextPage]
4.斗轮堆取料机的PLC 控制
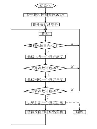
4. 1 堆料程序控制
在堆料PLC 半自动控制程序中, 首先将大车预制在预定堆煤位置, 通过可编程终端画面上的堆料控制参数设定, 设定堆料时悬臂架的变幅次数M1次和悬臂架回转次数M2次。启动堆料程序, 则悬臂胶带、尾车胶带在程序的控制下顺序逻辑启动, 给系统发出斗轮堆料作业信号并实现与系统胶带按堆料工况联锁。堆料机在堆料位自动运行状态堆料,随着物料的堆积,料堆逐渐升高,当物料碰到斗轮机上的物料开关时,悬臂上升一个高度,如此为上升设定的M1 次。悬臂左回转一个角度, 重复以前堆料,直至回转设定M2次。大车后退一段距离, 悬臂向右回转M2 倍角度,堆料M1次、回转M2 次。大车再后退, 重复工作,实现斗轮堆取料机的堆料PLC控制作业。其控制流程图如图6所示:

4. 2 取料程序控制
在取料PLC控制程序中, 首先将大车开至预定取料位置。当接到系统取料指令和系统胶带取料运行后, 启动取料程序, 则悬臂胶带、斗轮在程序控制下顺序逻辑启动, 通过回转角度绝对式光电编码器分别进行取料初始角和取料终止角的角度采样, 传送和存贮, 确定悬臂回转的取料范围。则悬臂回转取料左转、右转时, 分别与取料初始角和取料终止角进行比较, 每相等1 次, 大车继续前进一段距离, 悬臂再左右回转取料, 直至N1 次。然后,大车后退N1 倍距离到初始位置, 悬臂下降一段距离,开始第二层取料, 工艺与第一层同理; ⋯⋯直至取完N2 层。N1 的设置应为奇数才能实现全料层循环。其控制流程图如图7所示:

4. 3 信号、仪表指示监控
信号、仪表指示监控是靠PLC 与电压互感器可编程终端之间的通讯实现的, 并组成可编程序终端辅助监控的斗轮堆取料机操作系统。采用可编程终端, 斗轮堆取料机的状态信号, 报警信号和仪表指示信号进入电压互感器可编程终端系统, 可对斗轮堆取料机进行实时监控, 方便、准确、快捷, 免去了盘式指示灯、仪表配线的繁琐, 同时丰富了显示功能。
5 结束语
斗轮堆取料机采用PLC 控制具有故障率低、抗干扰性好、可靠性高、 运行稳定等优点,而PROFIBUS- DP 总线的引入,能够节省大量的控制电缆及安装费用, 安装简单,维护方便。PLC在工作期间,现场设备出现故障,能快速通过触摸屏查找并显示故障,方便维护人员检修设备,缩短了故障处理时间,同时由于控制电缆用量的减少,有效地降低了由控制电缆引发的各类故障,大大提高了斗轮堆取料机运行可靠性,取得了良好的运行效果,能够给企业带来良好的经济效益。
(转载)



