国国电蒙东能源西二矿项目,是内蒙古煤炭外运典型工程和锡林浩特市形象工程。作为中国第五条超长煤炭运煤皮带(2800米),皮带系统的稳定运行,直接关系到整个煤炭运输系统的正常运作,因此,该工程对设备质量及性能要求极高。也正因为如此,国内类似项目的变频改造长期以来被国外企业所垄断,
但合康变频依靠过硬的产品质量和良好的信誉成功中标,打破了国外企业的长期垄断。

图1 项目实施工况
变频器选型
我公司考察现场工矿情况(图1)后分析。考虑的方面主要包括:
电机功率、额定电流(如表1所示)
▲海拔高度
▲皮带机的起初负载重,如果变化大将导致电机负荷变化大。出现短期电机过载现象。
▲皮带机由于负载过重,有时不太平稳。
▲如果在运行过程中故障,则需要重新重载启动
▲因此根据我们经验,变频器放大两个功率等级后。就能满足现场实际需求。

表1 现场电机配置情况
多机实现方式
作为201三台主电机的控制设备,合康变频三机联动(主从控制)同步运行变频系统是由完全独立的三台变频器通过主、从机的同步通讯方式保证双电机的转速及功率平衡。三台电机中任意一台都可作为主机,另两台为从机,主从机之间的同步控制是由以光纤通讯为传输介质的“内嵌式同步控制器”实现的。同时,HIVERT系列通用高压变频器光纤通讯,通讯速率500kbps,足以应付现场的通讯需求,并加入CRC校验,保证数据传输的准确性。进一步来讲,此种多机通讯方式已经在变频器内置完成,故无需增加额外繁杂的同步设备,,只需简单的安装操作及设置就可实现多机同步运行。另外,光纤抗干扰性好、铺设简单(只需在光纤外加设保护),可通过电缆沟等联结,既不会增加您的费用,也不影响美观。

图2 三机联动方案实施现场
不平衡解决方案
三机联动功率平衡是系统运行的主要关键环节,因此,变频器多机运行过程中电机的功率平衡也成为成为变频控制的重点。
主、从电机在运行过程中,系统会出现由工况引起的功率不对称分配,如果某台电机出力严重超过电动机的额定功率,另两台电机则会过度轻载运行。主、从电机非同步运行很容易造成设备的损坏。同时,长期运行,超载运行的电机会出现过热、过载保护、过流现象甚至停机等事故发生。因此,为避免功率分配的不对称出现,HIVERT高压变频器通过内置的高速同步通讯,当主机接收到正常启动信号后,主机启动变频器,同时将运行信号,运行频率及转矩电流发送给从机,从机按照主机发送过来的数据正常启动、运行、输出转矩的控制,从机本身具备转矩电流的调节,同时将自身的转矩电流与主机发送过来的转矩电流做比较,从机会自动调整自身的运行频率,从而实现两台变频器的功率平衡。同时,可将非同步状态下输出功率较大电机的超载功率部分及时平衡到轻载电机上,实时保持前后主、从电机功率均衡对称分配,动态自动调整,由此实现主、从变频器的同步运转,实现双电动机的同步运行。
人性化设计
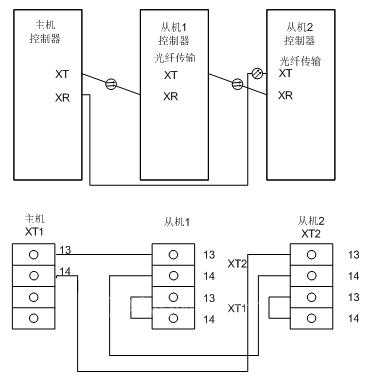
▲ 现场连线方便,容易操作(图3);
▲ 通讯方式多样化;
▲ 为用户提供Modbus、Probus以及RS485通讯接口,满足用户的现场需求;
▲ 控制方式多样化,根据现场要求可提供本地、远程,上位等多种控制方式;
▲ 可在故障维修后,在重载状态下运行;
▲运行方式人性化,在特殊情况下,可将三机改为双机联动等。

图3 主从通讯连线及故障连锁
重要提示
为了保证设备的良好运行并延长其使用寿命,应注意以下几个方面:
▲上高压时,请注意顺序,先上两台从机,最后主机。如果顺序错误,则会有从机高压指示灯不亮;
▲如果现场两台变频器有滚筒连接,则这两台不宜设为主机,否则容易报过压故障;
▲如果主机电流波动很大,则要求用户停机,检查皮带是否松动;
▲运行一段时间现场,当再次启动时,变频器无法启动,建议用户检查,皮带是否粘有煤面;
▲在用户运煤量很小时,建议不要超过35HZ。否则,可能使皮带跑偏;
▲如果变频器报单元故障,但故障记录无任何记录,且上高压不超过30S自动调掉。这时需观察上级高开柜,如高开柜显示“动作时间过长,保护动作”。则需更换主控板;
▲当变频器各项功能正常,但报有重故障时,按复位按钮无任何作用。则需检查PLC是否死机或拉绳开关动作;
▲当变频器各项功能正常,但轻故障灯不停的闪,此时需要用户确定,PLC是否死机。
结束语
在设备调试中,我公司克服了现场工矿带来的各种棘手问题,如皮带晃动,变频器报过压,用户程序不稳定等。至此,经过现场一年运行,变频器运行正常,主从机之间各项参数准确无误,设备运行平稳,无任何故障。电机运行平稳、无噪声、发热量低、对电网干扰小等,为用户创造巨额利润。这标志着合康公司在多机系统方面技术成熟以及市场的认可。
(转载)



