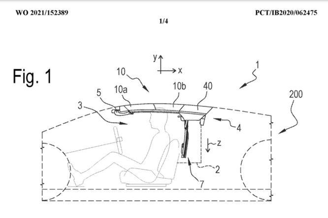
据外媒报道,兰博基尼向世界知识产权组织(WIPO)提交了一项可伸缩车顶系统的专利。在未来的兰博基尼敞篷车(较小的车型通常称为Spyders)中,车顶基是折叠的,可在座椅后面向下垂直滑动。

(图片来源:ferrari296forum)
该专利解释了一种系统,可以看到敞篷车顶正常升起并远离车身,然后折叠成座椅后面和中置发动机前面的狭窄隔板。

从专利中的图表来看,这种折叠式车顶似乎适合硬顶类型敞篷车。车项被分成两个小面板,前面的面板在向后远离挡风玻璃时,平行于第二个面板移动。总的来说,将车顶折叠起来,似乎可以避免其抬得太高,使操作速度更快,当然其中不排除其他优势所在。

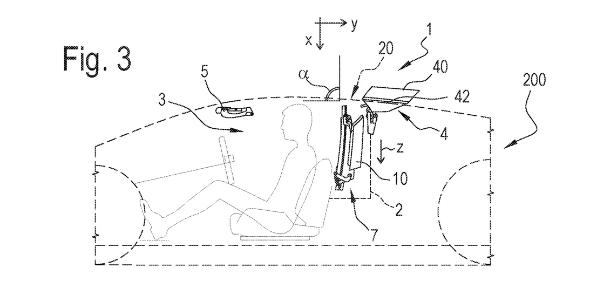
在大多数中置发动机双门轿跑车转敞篷车中,汽车中后部(至少在肩线以上)的大部分区域都有所改动,比如发动机盖、进气位置和空调扶壁。该系统似乎改变了一切,将所有车顶机制限制在车辆的前部/中部。

这将有助于平衡重量、使汽车外观更加清洁,并且无需重新设计整个后行李箱盖,以容纳可伸缩车顶。当然,这需要在该系统真正问世并运行时进一步确认。
(转载)



