据外媒报道,福特(Ford)就其可改善越野性能的新型排气系统在德国和美国申请了新专利。该系统为可伸缩排气管,将可适用于全球车辆。

(图片来源:福特)
总的来说,大多数车辆的接近角大于离去角,因此车辆可以轻松爬上斜坡且不会损坏前部,但后部可能会发生刮擦。据专利申请书介绍,排气管会经常会划伤、压缩,甚至发生变型,因此会使得客户会降低对车辆性能评价。

(图片来源:德国专利局)
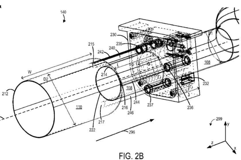
伸缩尾管系统通常包括一个与排气管物理分离的排气筒,以允许两个部件之间的相对运动。排气筒收回模块(ETRM)连接并固定在上游排气管的最后面的位置,可能会对排气筒造成限制。该ETRM配置有一个执行器、一个齿轮和多个线性轴承。该排气筒包括一组与ETRM中的线性轴承配合的延伸轴。

(图片来源:美国专利商标局)
电机可以控制齿轮,通过齿轮齿条系统移动管道的延伸轴。因此,延伸轴可能会向后或向前移动,从而使排气筒缩回或延伸到默认位置。
该设计看起来十分简单,仅需改变少许角度,就可以改善车辆的越野性能,而无需重新设计整个车辆。目前该系统的成本效益和创新型还无法确定,因此不能进行规模生产。
(转载)



