据外媒报道,保时捷向德国专利商标局提交一项新专利。这种与前扰流板相关的“车辆车头装置”,旨在降低行人受伤的严重程度。

(图片来源:carbuzz)
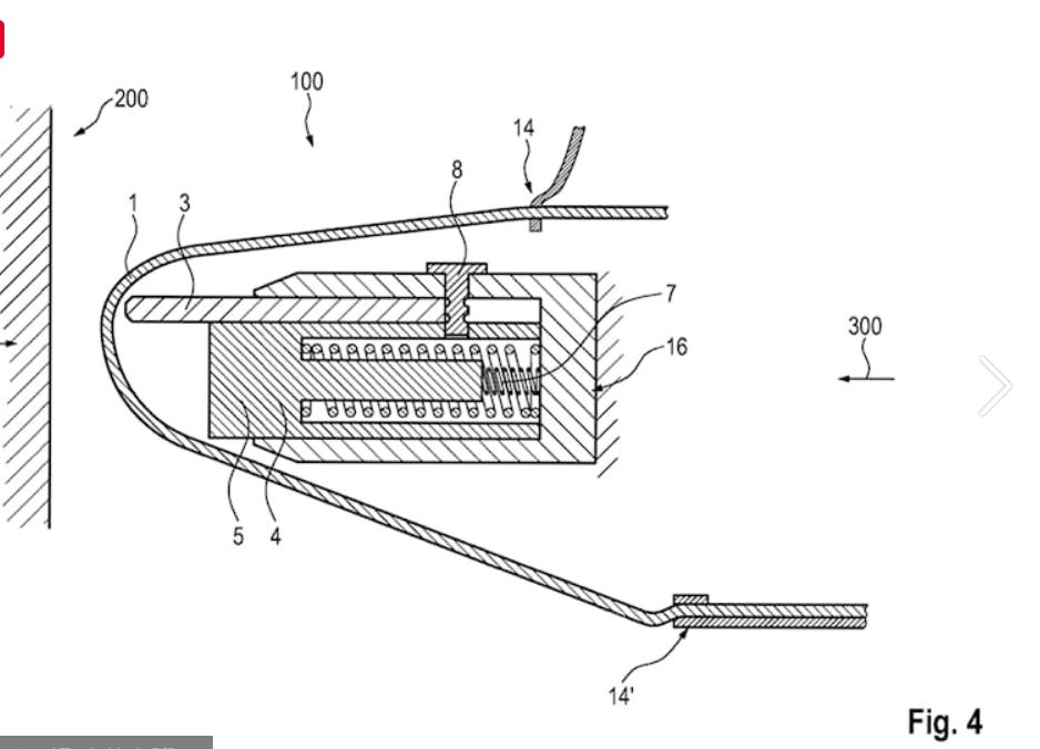
从本质上讲,保时捷新设计的前扰流板,在与行人接触时可以移动,从而减少发生严重伤害的机率。“车头具有前扰流板元件,其特征在于该装置中包括推力体和触发推力体运动的激活元件,其中推力体通过锁定装置保持在初始位置。当车辆与身体发生碰撞时,所述激活元件可以某种方式移动,从而作用于锁定装置。”
在发生碰撞时,如果前扰流板/保险杠部分能够适当地改变形状,则会改变对身体的冲击角度,从而改变对特定关节和韧带产生的影响。据保时捷介绍,具体来说,在撞击过程中,可以减轻对行人的下半身和膝盖造成的压力。该设计可能尤其适用于SUV或小型SUV(如迈凯),因为相对于其他车身款式,此类车辆具有独特的外形。
沃尔沃和本田等制造商构想,未来能够实现零碰撞伤亡,然而这一目标距离实现还有一段路要走。就目前而言,如果能够改进汽车设计,在发生事故时减少对行人的伤害,那么即为有价值的设计。
(转载)



