据外媒报道,专利文件显示,大众于2017年推出的Sedric无人驾驶概念车或将投入生产。该车型首次亮相时,预计可达第5级自动驾驶级别。其与ID.BUZZ概念车有很多共同点,比如四人面对面的车舱,并具有休闲氛围。但是,ID.BUZZ的两侧各只有一个滑动门,而Sedric则具有双滑动门。

(图片来源:carbazz)
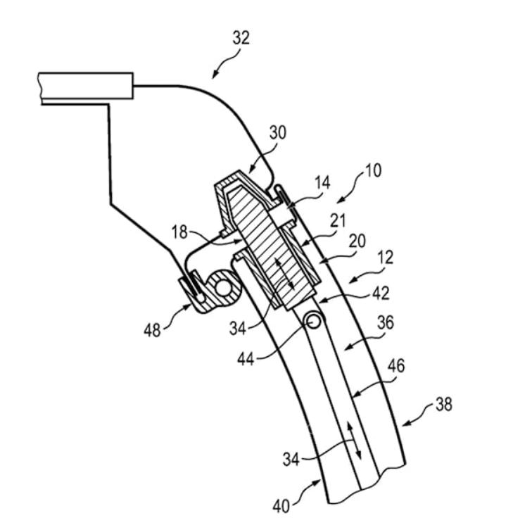
大众向世界知识产权局提交、并于2021年12月下旬公布专利申请文件。该文件展示了此类车门的锁定机制,暗示大众可能正在开发Sedric量产版。该文件介绍“具有综合车辆碰撞保护的锁定系统装置,[或]车辆车门装置”,展示了在Sedric上看到的同类双滑动门。另外,文件中更为详细地展示锁定机制,及其如何安全地用于生产和使用。

在这样的车门系统中,潜在问题之一是其对碰撞的反应方式。在碰撞过程中车门被打开,可不是个好事。鉴于双滑动门固定在实体上的点较少,这可能是一个问题。大众已经开发出一种方法来解决这个问题,即通过旋转激活锁从多个方向进行锁定。第一个部件直接锁定到车架的顶部和底部,第二个部件从一侧到另一侧锁定到相邻车身和另一扇门上。这不仅增加了结构稳定性,而且能够提升安全性。
那么,为什么可以看出大众或将量产Sedric,而不是ID.Buzz呢?简单地说,ID.Buzz具有传统的前门和滑动后门,这种双滑动门设计在ID.Buzz上效果不佳。此外,Sedric概念不断得到完善,这表明大众一直在投资开发自动驾驶平台。大众ID.Buzz的自动驾驶版本,可以在市区内充当自动出租车,所以也许这些门会用于此类应用,这样乘客打开车门时面临的风险较小。
(转载)



