随着向全面电气化和自动驾驶过渡,汽车领域在技术方面取得了巨大进步,同时不断对其他部分进行更新和改造。

(图片来源:carbazz)
据外媒报道,宝马公司提出另一种改变存储解决方案的方法。该公司开发了一种可以作为地图袋(map pocket)的可伸缩桌面。

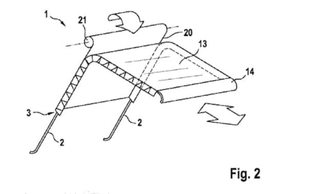
专利申请文件显示一款E9X宝马3系车示意图。图中展示了一种新型地图袋,其中的网状结构被可折叠表面取代,该表面可从轨道底部向外延伸。这样,后面的乘客就可以轻松地收放折叠桌,使其随意向前或向后伸展。
这种灵活的设计类似于老式文件柜、书柜和卷帘门,但也存在一些缺点。比如,滚轮肯定很难保持清洁。在收起桌面前,很可能刮伤或损坏乘客放在口袋里的物品。
从好的方面来说,这种桌面可用于后座中控台,方便乘客把平板电脑或手机等设备放在上面。
这似乎又是一项不同寻常的发明,只是为了保护模糊的想法才申请专利。当然,一些用户希望看到,其进一步演变成为真正实用的东西。
(转载)



