据外媒报道,福特汽车公司申请电子离合器系统专利,该系统支持驾驶员手动换档,而不必担心离合器接合。与传统的离合器驱动不同,福特的想法旨在取消离合器踏板和分离轴承之间的物理连接,取而代之的是,离合器操作将变成基于传感器输入算法的电子控制。

(图片来源:patentguru)
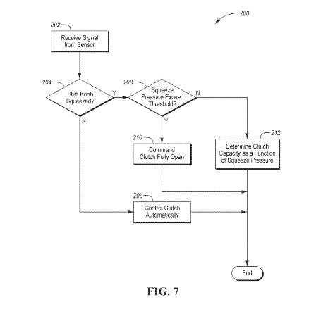
专利摘要中称,该系统将配备一个控制模块,旨在自动启动离合器。驾驶员只需移动变速杆,即可轻松换档。当换档手柄中的传感器感知到,驾驶员已抓住操作杆,并开始移动以使其通过锁销后,该模块将开始分离离合器。当换档完成时,则重新接合离合器。
搭载这类电子离合器系统的车辆,不需要离合器踏板。但是,福特公司明确表示,车辆中仍然可以存在离合器踏板,只需将其连接到控制模块,而不是物理连接至离合器主缸。
该文件中概述的另一个选项是换档手柄上的手控按钮,以取代离合器踏板,手动启动离合器。无论是通过踏板还是按钮实现快速换挡,都需要这个手控装置,因此可以不使用离合器踏板。该文件甚至指出,可以通过握住变速杆的压力来感应离合器压力,根据抓握力调节或滑动离合器。

(图片来源:patentguru)
值得一提的是,该系统仍在主缸和从动缸之间采用液压连接,以使分离轴承朝向或远离压力板上的隔膜弹簧进行轴向移动。福特表示,这类系统可用于传统后轮驱动车辆(如S650 Ford Mustang)或四轮驱动装置(如Ford Bronco)上的纵向手动变速器,或者是Fiesta和Focus等车型中使用的前轮驱动变速差速器。变速器本身的机械部件将保持不变,仍然使用恒定啮合齿轮、同步器、速齿轮和换挡叉,与现在的手动变速箱大致相同。

(图片来源:patentguru)
福特开发电子离合器系统的目标之一是,消除日常驾驶手动档车辆中存在的一些不良属性,这也是在过去30年手动变速箱发展速度下降的主要原因。目前,尚不清楚福特是否会将此类系统真正投入使用。
(转载)



