近年来,由于市场需求发生变化和变矩器自动变速器效率得到提高,三踏板变速器的普及率显著下降。据悉到2021年,澳大利亚销售的乘用车中仅有5%搭载了手动挡,低于20年前的近30%。据外媒报道,汽车制造商丰田(Toyota)申请了一项手动变速箱专利,旨在扩大手动变速箱在电动(零排放)汽车的应用。

(图片来源:丰田)
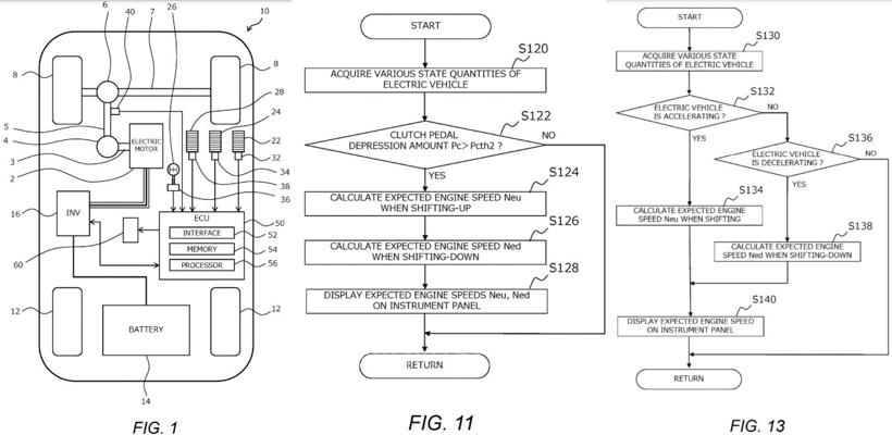
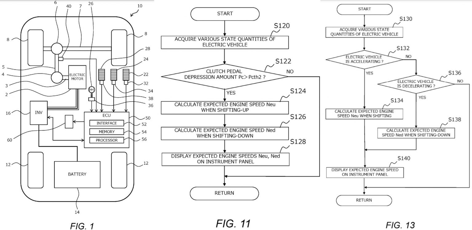
凭借瞬时扭矩和功率带特性,电动汽车通常不需要齿轮。但是最近的设计都表明设计人员想要获得搭载手动变速箱的传统汽油车的驾驶体验。
专利申明中称该技术可在车辆中产生伪换档变化,将扭矩从驱动电机传递到车轮。该扭矩可以通过控制施加的电压和磁场得到控制。因此,对于熟悉配备有级变速器车辆的驾驶员来说,可以更好地使用电动汽车。
目前该专利还无法生成特定设计或技术,且无法投入生产,但丰田还在探索在更多领域应用该专利的可能性。当前已有部分电动汽车配备了手动变速箱,其中包括欧宝Manta GSe Elektromod、福特Mustang Lithium概念车和Jeep Wrangler Magneto。
(转载)




