【摘要】:本文介绍了高压变频器在首钢京唐公司1#烧结机余热风机上的应用案例,以及采用新型空-水冷却系统解决高压变频器散热问题的情况,通过对利德华福高压变频器的实际运行数据分析,说明其具有良好的节能效果。
【关键词】:余热风机 高压变频器 空水冷却
一、工程概况
钢铁企业以其资源密集、能耗密集、生产规模大、物流吞吐量大等特点著称,首钢京唐公司1#烧结机余热风机功率较大,达到3150kW,风量调节如果采用入口挡板调节方式,仅仅是改变了通道的流通阻力,驱动源的输出功率并没有改变,节流损失相当大,电能浪费大。
变频调速系统以其节能效益显著,调速精度高、范围宽,电力电子保护功能完善,及易于实现自动化控制等特点,得到了广大用户和市场的认可。在运行的安全可靠性、安装使用便利性、维修维护简易性等方面,也给使用者带来了极大的好处,使之成为企业电机节能方式的首选。
为了节能降耗、提高风机调节性能,首钢京唐公司经过招标考察认证,决定采用北京利德华福电气技术有限公司生产的HARSVERT-A10/230变频调速系统在余热风机上实施应用。
二、余热风机运行工艺及变频系统方案
烧结机生产时,热烧结矿从烧结机尾部落下经破碎后,通过振动筛分后经溜槽落到环冷机传送带上。冷却带上的料矿温度仍较高,所以在烧结环冷机上布置有数台冷却风罩,风罩内通过风机使料矿冷却。吸热后的热烟气被引出环冷机,再通过余热风机将热量回收加以利用。
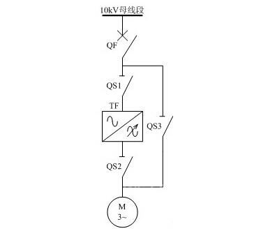
系统设计方案以“先保证系统安全可靠,结构合理,提供最佳性价比方案”的原则,针对性提出一拖一手动工/变频切换方案。正常运行时,系统通过QS1、QS2隔离开关将变频器接入电动机的一次动力系统中实现对电动机的调速控制;当变频器出现故障时,可断开QS1、QS2隔离开关,合上旁路开关QS3恢复电动机原有运行方式保证生产的连续性。具体一次系统电气原理图如下所示。

该高压变频调速系统,具有下列功能:
(1)电机拖动风机可实现软起动(起动电流从零到额定值平滑过渡、无冲击)和软制动。
(2)可实现线性调速,系统调频范围0~50Hz。
(3)系统设有就地和远方两种控制途径,就地控制是在变频器处通过变频器触摸屏进行操作或应急处理;远方控制是在控制室内进行,操作员通过DCS系统的CRT手动给定信号,调节变频器,改变电机转速,达到调节风量的目的。
(4)完备的保护功能:变频器内保护配置齐全,有运行中开门、冷却风扇停运、变频器过热、输入电压过低、负载超速、功率单元异常、接地等各种类型报警检测功能,并完全具备对自身及电机的保护功能。
三、变频冷却系统方案
高压变频器对运行环境温度通常要求在0~40℃,环境粉尘含量低于950ppm。过高的温度会造成变频器温度过热保护而跳闸。在钢厂粉尘含量高、环境条件恶劣的条件下,解决高压变频器的散热和运行环境问题,对保证设备安全稳定运行至关重要。因此,采用何种冷却方式和系统结构变频器节能实施的重要环节。
为了解决高压变频器的运行环境冷却和控制问题,提高系统安全可靠性、降低运营成本,选用与高压变频器配套使用的BLH-CK系列空-水冷却系统。该系统从根本上解决了单位散热密度高、功率大,有效提高系统安全可靠性、降低运营成本的问题。
空-水冷却系统是一种利用高效、环保、节能的冷却系统,其应用技术在国内处于领先地位。在电力、钢铁等行业的高压大功率变频应用中得到广泛的推广应用。该系统由于其采用完全机械结构设计,较空调等电力、电子设备而言具有明显的安全、可靠性。
其主要原理是:将变频器的热风通过风道直接通过空冷装置进行热交换,由冷却水直接将变频器散失的热量带走;经过降温的冷风排回至室内。空冷装置内通过冷水温度低于33 ℃,即可以保证热风经过散热片后,将变频器室内的环境温度控制在40℃以下满足变频器对环境运行的要求。从而,保证了变频器室内良好的运行环境。冷却水与循环风完全分离,水管线在变频室外与高压设备明确分离,确保高压设备室不会受到防水、绝缘破坏等安全威胁和事故。
同时,由于房间密闭,变频器利用室内的循环风进行设备冷却,具有粉尘度低,维护量小的特点;减少了环境对变频器功率柜、控制柜运行稳定性的不利影响。空-水冷却系统结构原理图如下:

该空-水冷却系统具有以下几个方面的特点:
(1)设备安装简单、快捷。整体式的结构组件安装于变频器室外,室内采用风道与变频器柜顶排气口直接连接,使得整个空-水冷却系统结构紧凑,便于安装。
(2)设备使用寿命长,故障率低,性能可靠。由于空-水冷却系统采用完全机械结构设计,较空调等电力、电子设备而言具有明显的安全、可靠性,具有较高的使用寿命。如果一旦冷却系统出现水路系统故障,则可关闭进出水阀门;通过风路管道系统设置的上下风门,可以直接将热风外排到室外,吸入冷风实现开放式循环,从而大大提高了变频器安全、可靠性。
(3)运营成本低。空-水冷却系统的运营成本是同等热交换功率空调冷却方式的1/4~1/5。冷却电耗指标远远低于空调冷却,避免了能源节约的二次浪费。
(4)变频器维护量低,环境卫生。由于房间密闭,冷却系统与变频器室形成密闭式循环风进行设备冷却,具有粉尘进入量小,环境温、湿度稳定等特点。滤网清洗周期有原来的15~30天延长到2~3个月以上,大大减轻了现场设备维护量和人力成本。
(5)冷却风机冗余结构配置。空-水冷却系统中采用的增压风机设计风压、风量均大于变频柜顶风机的风压、风量排放值,当变频器柜顶或增压风机出现问题时不会影响系统的冷却效果。
实际运行效果证明:采用空-水冷却系统满足了变频器在钢铁厂平稳运行的环境需求,运行效果好、设备维护量低、运营成本少。由于房间密闭循环,设备通风滤网基本上只需要每3个月清洗一次。该系统自运行以来,较采用空调冷却而言,每天可节约电耗896kWh,每年运行300天可节约电费13.44万元。
四、节能计算
(1)高压变频器参数

(2)电机参数

(3)运行数据

(4)节能计算
根据功率计算公式:P=×U×I×cosφ,可得:改造前余热风机的电功率为3193kW,改造后的余热风机的网侧电耗功率下降到1970kW。两者相比,采用高压变频器进行节能改造后每小时可节电1223kWh。节电率可达38.3%,节能效果十分明显。
仅此一项,每年即可节约电量88.56万度,折合节约3513吨标准煤,减低碳排放量1997吨,经济效益和社会效益显著。
五、结论
首钢京唐公司1#烧结机余热风机变频系统的投运成功,为今后钢铁企业在大功率电机上采用国产高压变频器提供了良好的应用经验,同时也证明了北京利德华福电气技术有限公司生产的高压变频器技术先进、性能稳定,能够完全满足现场的需求。其中的空水冷散热方案,大大降低了散热所需的电能,降低了运行维护费用,值得大力推广。
(转载)



